?

實用專利
一種煙氣脫硝的裝置
日期:2020-09-14 15:05瀏覽次數:
說 明 書 摘 要
本實用新型提供一種煙氣脫硝的裝置,包括箱體,所述箱體內部的一側固定安裝有引風組件,所述箱體的內部且位于所述引風組件的一側設置有旋轉噴流組件,所述引風組件通過旋轉噴流組件傳動連接,涉及煙氣脫硝領域。本實用新型通過設置引風組件將煙氣引入到箱體內部,且通過傳動組件將引風組件與旋轉噴流組件傳動連接,當引風組件工作時,同時帶動旋轉噴流組件轉動,旋轉噴流組件噴出還原劑的同時旋轉,使氣流可以更加快速的充滿箱體,提高與煙氣混合速度與均勻度,提高煙氣脫硝的效率與質量,且通過一個電機驅動更加的節能環保,同時設置濾網可以對煙氣中的固體顆粒進行濾除,并且濾網便于拆卸安裝,方便對其清理和更換。

1.一種煙氣脫硝的裝置,其特征在于:包括箱體(1),所述箱體(1)內部的一側固定安裝有引風組件(2),所述箱體(1)的內部且位于所述引風組件(2)的一側設置有旋轉噴流組件(3),所述引風組件(2)通過旋轉噴流組件(3)傳動連接,所述旋轉噴流組件(3)包括支撐臂(31),所述支撐臂(31)轉動連接于所述箱體(1)內壁的底部,所述支撐臂(31)的頂部固定連接有噴流器(32),所述噴流器(32)的周側面連通有噴頭(33),所述噴流器(32)的頂部連通有連接管(34),所述連接管(34)的頂端通過旋轉連接頭(36)連接有輸氣管(35),所述箱體(1)的兩側分別連通有進氣管(5)和排氣管(6),所述進氣管(5)內部通過卡接組件(7)固定安裝有濾網(8)。
2.根據權利要求1所述的煙氣脫硝的裝置,其特征在于:所述引風組件(2)包括固定環(21),所述固定環(21)固定于所述箱體(1)的內表面,所述固定環(21)內表面通過固定桿固定連接電機(22),所述電機(22)輸出軸的一端通過聯軸器固定連接轉動軸(23),所述轉動軸(23)的一端固定連接有風扇(24)。
3.根據權利要求1所述的煙氣脫硝的裝置,其特征在于:所述傳動組件(4)包括支撐件(41),所述支撐件(41)固定于所述箱體(1)內壁的頂部,所述支撐件(41)的上轉動連接有傳動桿(42),所述傳動桿(42)的兩端分別套設有第一皮帶輪(43)和第一錐齒輪。
4.根據權利要求2所述的煙氣脫硝的裝置,其特征在于:所述轉動軸(23)的表面套設有第二皮帶輪(44),所述第二皮帶輪(44)通過皮帶與第一皮帶輪(43)傳動連接,所述連接管(34)的表面套設有第二錐齒輪,所述第二錐齒輪與第一錐齒輪嚙合。
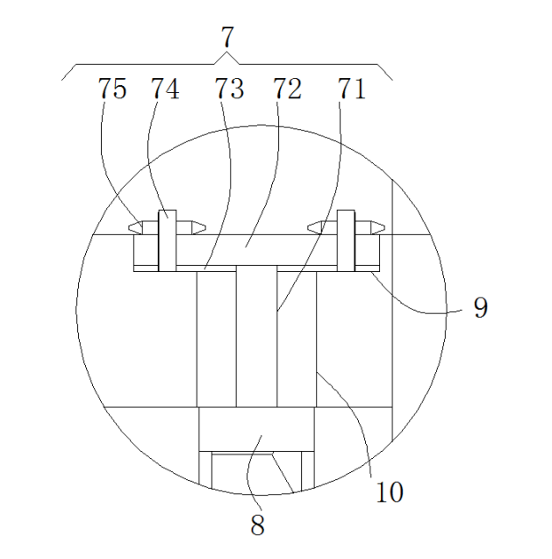
5.根據權利要求1所述的煙氣脫硝的裝置,其特征在于:所述卡接組件(7)包括連接板(71)和螺紋軸(74),所述連接板(71)固定于所述濾網(8)的頂部,所述連接板(71)的頂部固定連接有密封板(72),所述密封板(72)的底部粘接有密封塊(73),所述密封板(72)的兩側均開設有固定孔。
6.根據權利要求5所述的煙氣脫硝的裝置,其特征在于:所述進氣管(5)的頂部開設有密封槽(9),所述密封槽(9)內表面的底部開設有通槽(10),所述螺紋軸(74)固定于所述密封槽(9)內表面的底部,所述螺紋軸(74)的表面螺紋連接有星型螺母(75)。
2.根據權利要求1所述的煙氣脫硝的裝置,其特征在于:所述引風組件(2)包括固定環(21),所述固定環(21)固定于所述箱體(1)的內表面,所述固定環(21)內表面通過固定桿固定連接電機(22),所述電機(22)輸出軸的一端通過聯軸器固定連接轉動軸(23),所述轉動軸(23)的一端固定連接有風扇(24)。
3.根據權利要求1所述的煙氣脫硝的裝置,其特征在于:所述傳動組件(4)包括支撐件(41),所述支撐件(41)固定于所述箱體(1)內壁的頂部,所述支撐件(41)的上轉動連接有傳動桿(42),所述傳動桿(42)的兩端分別套設有第一皮帶輪(43)和第一錐齒輪。
4.根據權利要求2所述的煙氣脫硝的裝置,其特征在于:所述轉動軸(23)的表面套設有第二皮帶輪(44),所述第二皮帶輪(44)通過皮帶與第一皮帶輪(43)傳動連接,所述連接管(34)的表面套設有第二錐齒輪,所述第二錐齒輪與第一錐齒輪嚙合。
5.根據權利要求1所述的煙氣脫硝的裝置,其特征在于:所述卡接組件(7)包括連接板(71)和螺紋軸(74),所述連接板(71)固定于所述濾網(8)的頂部,所述連接板(71)的頂部固定連接有密封板(72),所述密封板(72)的底部粘接有密封塊(73),所述密封板(72)的兩側均開設有固定孔。
6.根據權利要求5所述的煙氣脫硝的裝置,其特征在于:所述進氣管(5)的頂部開設有密封槽(9),所述密封槽(9)內表面的底部開設有通槽(10),所述螺紋軸(74)固定于所述密封槽(9)內表面的底部,所述螺紋軸(74)的表面螺紋連接有星型螺母(75)。
一種煙氣脫硝的裝置
技術領域
本實用新型涉及煙氣脫硝領域,尤其涉及一種煙氣脫硝的裝置。
背景技術
煙氣脫硝技術主要有干法(選擇性催化還原煙氣脫硝、選擇性非催化還原法脫硝)和濕法兩種。與濕法煙氣脫硝技術相比,干法煙氣脫硝技術的主要優點是:基本投資低,設備及工藝過程簡單,脫除NOX的效率也較高,無廢水和廢棄物處理,不易造成二次污染。
現有煙氣脫硝包括向煙氣中通入氨氣等還原性氣體對煙氣中的硝還原為N2,但目前反應氣體與煙氣接觸混合速度慢,充分度低,使煙氣中脫硝效率低,使脫硝的煙氣中含含硝量高。
實用新型內容
本實用新型的目的在于提供一種煙氣脫硝的裝置,以解決上述技術問題。
本實用新型為解決上述技術問題,采用以下技術方案來實現:一種煙氣脫硝的裝置,包括箱體,所述箱體內部的一側固定安裝有引風組件,所述箱體的內部且位于所述引風組件的一側設置有旋轉噴流組件,所述引風組件通過旋轉噴流組件傳動連接,所述旋轉噴流組件包括支撐臂,所述支撐臂轉動連接于所述箱體內壁的底部,所述支撐臂的頂部固定連接有噴流器,所述噴流器的周側面連通有噴頭,所述噴流器的頂部連通有連接管,所述連接管的頂端通過旋轉連接頭連接有輸氣管,所述箱體的兩側分別連通有進氣管和排氣管,所述進氣管內部通過卡接組件固定安裝有濾網。
進一步地,所述引風組件包括固定環,所述固定環固定于所述箱體的內表面,所述固定環內表面通過固定桿固定連接電機,所述電機輸出軸的一端通過聯軸器固定連接轉動軸,所述轉動軸的一端固定連接有風扇。
進一步地,所述傳動組件包括支撐件,所述支撐件固定于所述箱體內壁的頂部,所述支撐件的上轉動連接有傳動桿,所述傳動桿的兩端分別套設有第一皮帶輪和第一錐齒輪。
進一步地,所述轉動軸的表面套設有第二皮帶輪,所述第二皮帶輪通過皮帶與第一皮帶輪傳動連接,所述連接管的表面套設有第二錐齒輪,所述第二錐齒輪與第一錐齒輪嚙合。
電機帶動轉動軸轉動時,可以通過過第二皮帶輪帶動第一皮帶輪轉動,從而帶動傳動桿轉動,傳動桿通過一端的第一錐齒輪帶動第二錐齒輪轉動,從而帶動進氣管轉動,進氣管帶動噴流器轉動,通過帶動噴流器旋轉可以使反應氣流快速的充滿箱體,并且旋轉可以更加快速的帶動氣流之間混合,提高煙氣脫硝的效率與質量。
進一步地,所述卡接組件包括連接板和螺紋軸,所述連接板固定于所述濾網的頂部,所述連接板的頂部固定連接有密封板,所述密封板的底部粘接有密封塊,所述密封板的兩側均開設有固定孔。
通過設置密封塊保證密封板與進氣管之間的密封性。
進一步地,所述進氣管的頂部開設有密封槽,所述密封槽內表面的底部開設有通槽,所述螺紋軸固定于所述密封槽內表面的底部,所述螺紋軸的表面螺紋連接有星型螺母。
通過設置星型螺母便于將轉動拆卸。
本實用新型的有益效果是:
本實用新型通過設置引風組件將煙氣引入到箱體內部,且通過傳動組件將引風組件與旋轉噴流組件傳動連接,當引風組件工作時,同時帶動旋轉噴流組件轉動,旋轉噴流組件噴出還原劑的同時旋轉,使氣流可以更加快速的充滿箱體,提高與煙氣混合速度與均勻度,提高煙氣脫硝的效率與質量,且通過一個電機驅動更加的節能環保,同時設置濾網可以對煙氣中的固體顆粒進行濾除,并且濾網便于拆卸安裝,方便對其清理和更換。
附圖說明
圖1為本實用新型內部的結構示意圖;
圖2為本實用新型外部的結構示意圖;
圖3為本實用新型圖1中A部的放大圖;
圖4為本實用新型進氣管的俯視圖。
附圖標記:1-箱體、2-引風組件、21-固定環、22-電機、23-轉動軸、24-風扇、3-旋轉噴流組件、31-支撐臂、32-噴流器、33-噴頭、34-連接管、35-旋轉連接頭、36-輸氣管、4-傳動組件、41-支撐件、42-傳動桿、43-第一皮帶輪、44-第二皮帶輪、45-皮帶、5-進氣管、6-排氣管、7-卡接組件、71-連接板、72-密封板、73-密封塊、74-螺紋軸、75-星型螺母、8-濾網、9-密封槽、10-通槽。
具體實施方式
為了使本實用新型實現的技術手段、創作特征、達成目的與功效易于明白了解,下面結合具體實施例和附圖,進一步闡述本實用新型,但下述實施例僅僅為本實用新型的優選實施例,并非全部。基于實施方式中的實施例,本領域技術人員在沒有做出創造性勞動的前提下所獲得其它實施例,都屬于本發明的保護范圍。
下面結合附圖描述本實用新型的具體實施例。
如圖1-4所示,一種煙氣脫硝的裝置,包括箱體1,所述箱體1內部的一側固定安裝有引風組件2,所述箱體1的內部且位于所述引風組件2的一側設置有旋轉噴流組件3,所述引風組件2通過旋轉噴流組件3傳動連接,所述旋轉噴流組件3包括支撐臂31,所述支撐臂31轉動連接于所述箱體1內壁的底部,所述支撐臂31的頂部固定連接有噴流器32,所述噴流器32的周側面連通有噴頭33,所述噴流器32的頂部連通有連接管34,所述連接管34的頂端通過旋轉連接頭36連接有輸氣管35,所述箱體1的兩側分別連通有進氣管5和排氣管6,所述進氣管5內部通過卡接組件7固定安裝有濾網8。
濾網包括外側的框架以及內部的濾芯,連接管34貫穿箱體1且延伸至箱體的外部,所述連接管34與箱體1貫穿處進行密封處理。
所述引風組件2包括固定環21,所述固定環21固定于所述箱體1的內表面,所述固定環21內表面通過固定桿固定連接電機22,所述電機22輸出軸的一端通過聯軸器固定連接轉動軸23,所述轉動軸23的一端固定連接有風扇24。
電機通過電源線與外部電源連接供電。
所述傳動組件4包括支撐件41,所述支撐件41固定于所述箱體1內壁的頂部,所述支撐件41的上轉動連接有傳動桿42,所述傳動桿42的兩端分別套設有第一皮帶輪43和第一錐齒輪。
支撐件41包括固定架,固定架的底部固定安裝有軸承,傳動桿固定在軸承的內表面。
所述轉動軸23的表面套設有第二皮帶輪44,所述第二皮帶輪44通過皮帶與第一皮帶輪43傳動連接,所述連接管34的表面套設有第二錐齒輪,所述第二錐齒輪與第一錐齒輪嚙合。
所述卡接組件7包括連接板711和螺紋軸74,所述連接板711固定于所述濾網8的頂部,所述連接板711的頂部固定連接有密封板72,所述密封板72的底部粘接有密封塊73,所述密封板72的兩側均開設有固定孔。
密封塊73為橡膠材質,密封板72 的兩側均對稱開設有兩個固定孔。
所述進氣管5的頂部開設有密封槽9,所述密封槽9內表面的底部開設有通槽10,所述螺紋軸74固定于所述密封槽9內表面的底部,所述螺紋軸74的表面螺紋連接有星型螺母75。
密封槽9與密封板72大小相同,螺紋軸74的數量和位置與固定孔對應。
工作原理:將進氣管5與煙氣輸出的管道連接,排氣管6通過閥門與輸出管道連接并與后續處理設備連接;
通過電機22帶動轉動軸23轉動,轉動軸23帶動風扇24轉動,從而將氣流引入到箱體1的內部,同時轉動軸23通過第二皮帶輪44帶動第一皮帶輪43轉動,從而帶動傳動桿42轉動,傳動桿42通過一端的第一錐齒輪帶動第二錐齒輪轉動,從而帶動連接管34轉動;
連接管34帶動噴流器32轉動,且還原劑通過進氣管36經連接管34進入到噴流器32內部然后通過噴頭33噴出,通過帶動噴流器旋轉可以使氣流快速的充滿箱體1,并且旋轉可以更加快速的帶動氣流之間混合,提高煙氣脫硝的效率與質量,脫硝完成的氣體通過排氣管6排出;
當煙氣通過進氣管5進入使,通過濾網8對其進行過濾,將煙氣中的固體顆粒進行過濾;
且濾網便于拆卸進行清理,拆卸時,通過手動將星型螺母75依次擰下,然后將密封板72向外側拉動,通過連接板71將濾網8拉出,然后即可進行清理;
安裝時通過將濾網對應通過通槽10插入至不能在插入,此時底部位于限位槽內部,密封板72位于密封槽9的內部,且密封板72上的固定孔對應螺紋軸74穿過,通過星型螺母75固定即可。
在本實用新型中,除非另有明確的規定和限定,第一特征在第二特征之 “上”或之“下”可以包括第一和第二特征直接接觸,也可以包括第一和第二特征不是直接接觸而是通過它們之間的另外的特征接觸。而且,第一特征在第二特征“之上”、“上方”和“上面”包括第一特征在第二特征正上方和斜上方,或僅僅表示第一特征水平高度高于第二特征。第一特征在第二特征“之下”、“下方”和“下面”包括第一特征在第二特征正下方和斜下方,或僅僅表示第一特征水平高度小于第二特征。
以上顯示和描述了本實用新型的基本原理、主要特征和本實用新型的優點。本行業的技術人員應該了解,本實用新型不受上述實施例的限制,上述實施例和說明書中描述的僅為本實用新型的優選例,并不用來限制本實用新型,在不脫離本實用新型精神和范圍的前提下,本實用新型還會有各種變化和改進,這些變化和改進都落入要求保護的本實用新型范圍內。本實用新型要求保護范圍由所附的權利要求書及其等效物界定。
技術領域
本實用新型涉及煙氣脫硝領域,尤其涉及一種煙氣脫硝的裝置。
背景技術
煙氣脫硝技術主要有干法(選擇性催化還原煙氣脫硝、選擇性非催化還原法脫硝)和濕法兩種。與濕法煙氣脫硝技術相比,干法煙氣脫硝技術的主要優點是:基本投資低,設備及工藝過程簡單,脫除NOX的效率也較高,無廢水和廢棄物處理,不易造成二次污染。
現有煙氣脫硝包括向煙氣中通入氨氣等還原性氣體對煙氣中的硝還原為N2,但目前反應氣體與煙氣接觸混合速度慢,充分度低,使煙氣中脫硝效率低,使脫硝的煙氣中含含硝量高。
實用新型內容
本實用新型的目的在于提供一種煙氣脫硝的裝置,以解決上述技術問題。
本實用新型為解決上述技術問題,采用以下技術方案來實現:一種煙氣脫硝的裝置,包括箱體,所述箱體內部的一側固定安裝有引風組件,所述箱體的內部且位于所述引風組件的一側設置有旋轉噴流組件,所述引風組件通過旋轉噴流組件傳動連接,所述旋轉噴流組件包括支撐臂,所述支撐臂轉動連接于所述箱體內壁的底部,所述支撐臂的頂部固定連接有噴流器,所述噴流器的周側面連通有噴頭,所述噴流器的頂部連通有連接管,所述連接管的頂端通過旋轉連接頭連接有輸氣管,所述箱體的兩側分別連通有進氣管和排氣管,所述進氣管內部通過卡接組件固定安裝有濾網。
進一步地,所述引風組件包括固定環,所述固定環固定于所述箱體的內表面,所述固定環內表面通過固定桿固定連接電機,所述電機輸出軸的一端通過聯軸器固定連接轉動軸,所述轉動軸的一端固定連接有風扇。
進一步地,所述傳動組件包括支撐件,所述支撐件固定于所述箱體內壁的頂部,所述支撐件的上轉動連接有傳動桿,所述傳動桿的兩端分別套設有第一皮帶輪和第一錐齒輪。
進一步地,所述轉動軸的表面套設有第二皮帶輪,所述第二皮帶輪通過皮帶與第一皮帶輪傳動連接,所述連接管的表面套設有第二錐齒輪,所述第二錐齒輪與第一錐齒輪嚙合。
電機帶動轉動軸轉動時,可以通過過第二皮帶輪帶動第一皮帶輪轉動,從而帶動傳動桿轉動,傳動桿通過一端的第一錐齒輪帶動第二錐齒輪轉動,從而帶動進氣管轉動,進氣管帶動噴流器轉動,通過帶動噴流器旋轉可以使反應氣流快速的充滿箱體,并且旋轉可以更加快速的帶動氣流之間混合,提高煙氣脫硝的效率與質量。
進一步地,所述卡接組件包括連接板和螺紋軸,所述連接板固定于所述濾網的頂部,所述連接板的頂部固定連接有密封板,所述密封板的底部粘接有密封塊,所述密封板的兩側均開設有固定孔。
通過設置密封塊保證密封板與進氣管之間的密封性。
進一步地,所述進氣管的頂部開設有密封槽,所述密封槽內表面的底部開設有通槽,所述螺紋軸固定于所述密封槽內表面的底部,所述螺紋軸的表面螺紋連接有星型螺母。
通過設置星型螺母便于將轉動拆卸。
本實用新型的有益效果是:
本實用新型通過設置引風組件將煙氣引入到箱體內部,且通過傳動組件將引風組件與旋轉噴流組件傳動連接,當引風組件工作時,同時帶動旋轉噴流組件轉動,旋轉噴流組件噴出還原劑的同時旋轉,使氣流可以更加快速的充滿箱體,提高與煙氣混合速度與均勻度,提高煙氣脫硝的效率與質量,且通過一個電機驅動更加的節能環保,同時設置濾網可以對煙氣中的固體顆粒進行濾除,并且濾網便于拆卸安裝,方便對其清理和更換。
附圖說明
圖1為本實用新型內部的結構示意圖;
圖2為本實用新型外部的結構示意圖;
圖3為本實用新型圖1中A部的放大圖;
圖4為本實用新型進氣管的俯視圖。
附圖標記:1-箱體、2-引風組件、21-固定環、22-電機、23-轉動軸、24-風扇、3-旋轉噴流組件、31-支撐臂、32-噴流器、33-噴頭、34-連接管、35-旋轉連接頭、36-輸氣管、4-傳動組件、41-支撐件、42-傳動桿、43-第一皮帶輪、44-第二皮帶輪、45-皮帶、5-進氣管、6-排氣管、7-卡接組件、71-連接板、72-密封板、73-密封塊、74-螺紋軸、75-星型螺母、8-濾網、9-密封槽、10-通槽。
具體實施方式
為了使本實用新型實現的技術手段、創作特征、達成目的與功效易于明白了解,下面結合具體實施例和附圖,進一步闡述本實用新型,但下述實施例僅僅為本實用新型的優選實施例,并非全部。基于實施方式中的實施例,本領域技術人員在沒有做出創造性勞動的前提下所獲得其它實施例,都屬于本發明的保護范圍。
下面結合附圖描述本實用新型的具體實施例。
如圖1-4所示,一種煙氣脫硝的裝置,包括箱體1,所述箱體1內部的一側固定安裝有引風組件2,所述箱體1的內部且位于所述引風組件2的一側設置有旋轉噴流組件3,所述引風組件2通過旋轉噴流組件3傳動連接,所述旋轉噴流組件3包括支撐臂31,所述支撐臂31轉動連接于所述箱體1內壁的底部,所述支撐臂31的頂部固定連接有噴流器32,所述噴流器32的周側面連通有噴頭33,所述噴流器32的頂部連通有連接管34,所述連接管34的頂端通過旋轉連接頭36連接有輸氣管35,所述箱體1的兩側分別連通有進氣管5和排氣管6,所述進氣管5內部通過卡接組件7固定安裝有濾網8。
濾網包括外側的框架以及內部的濾芯,連接管34貫穿箱體1且延伸至箱體的外部,所述連接管34與箱體1貫穿處進行密封處理。
所述引風組件2包括固定環21,所述固定環21固定于所述箱體1的內表面,所述固定環21內表面通過固定桿固定連接電機22,所述電機22輸出軸的一端通過聯軸器固定連接轉動軸23,所述轉動軸23的一端固定連接有風扇24。
電機通過電源線與外部電源連接供電。
所述傳動組件4包括支撐件41,所述支撐件41固定于所述箱體1內壁的頂部,所述支撐件41的上轉動連接有傳動桿42,所述傳動桿42的兩端分別套設有第一皮帶輪43和第一錐齒輪。
支撐件41包括固定架,固定架的底部固定安裝有軸承,傳動桿固定在軸承的內表面。
所述轉動軸23的表面套設有第二皮帶輪44,所述第二皮帶輪44通過皮帶與第一皮帶輪43傳動連接,所述連接管34的表面套設有第二錐齒輪,所述第二錐齒輪與第一錐齒輪嚙合。
所述卡接組件7包括連接板711和螺紋軸74,所述連接板711固定于所述濾網8的頂部,所述連接板711的頂部固定連接有密封板72,所述密封板72的底部粘接有密封塊73,所述密封板72的兩側均開設有固定孔。
密封塊73為橡膠材質,密封板72 的兩側均對稱開設有兩個固定孔。
所述進氣管5的頂部開設有密封槽9,所述密封槽9內表面的底部開設有通槽10,所述螺紋軸74固定于所述密封槽9內表面的底部,所述螺紋軸74的表面螺紋連接有星型螺母75。
密封槽9與密封板72大小相同,螺紋軸74的數量和位置與固定孔對應。
工作原理:將進氣管5與煙氣輸出的管道連接,排氣管6通過閥門與輸出管道連接并與后續處理設備連接;
通過電機22帶動轉動軸23轉動,轉動軸23帶動風扇24轉動,從而將氣流引入到箱體1的內部,同時轉動軸23通過第二皮帶輪44帶動第一皮帶輪43轉動,從而帶動傳動桿42轉動,傳動桿42通過一端的第一錐齒輪帶動第二錐齒輪轉動,從而帶動連接管34轉動;
連接管34帶動噴流器32轉動,且還原劑通過進氣管36經連接管34進入到噴流器32內部然后通過噴頭33噴出,通過帶動噴流器旋轉可以使氣流快速的充滿箱體1,并且旋轉可以更加快速的帶動氣流之間混合,提高煙氣脫硝的效率與質量,脫硝完成的氣體通過排氣管6排出;
當煙氣通過進氣管5進入使,通過濾網8對其進行過濾,將煙氣中的固體顆粒進行過濾;
且濾網便于拆卸進行清理,拆卸時,通過手動將星型螺母75依次擰下,然后將密封板72向外側拉動,通過連接板71將濾網8拉出,然后即可進行清理;
安裝時通過將濾網對應通過通槽10插入至不能在插入,此時底部位于限位槽內部,密封板72位于密封槽9的內部,且密封板72上的固定孔對應螺紋軸74穿過,通過星型螺母75固定即可。
在本實用新型中,除非另有明確的規定和限定,第一特征在第二特征之 “上”或之“下”可以包括第一和第二特征直接接觸,也可以包括第一和第二特征不是直接接觸而是通過它們之間的另外的特征接觸。而且,第一特征在第二特征“之上”、“上方”和“上面”包括第一特征在第二特征正上方和斜上方,或僅僅表示第一特征水平高度高于第二特征。第一特征在第二特征“之下”、“下方”和“下面”包括第一特征在第二特征正下方和斜下方,或僅僅表示第一特征水平高度小于第二特征。
以上顯示和描述了本實用新型的基本原理、主要特征和本實用新型的優點。本行業的技術人員應該了解,本實用新型不受上述實施例的限制,上述實施例和說明書中描述的僅為本實用新型的優選例,并不用來限制本實用新型,在不脫離本實用新型精神和范圍的前提下,本實用新型還會有各種變化和改進,這些變化和改進都落入要求保護的本實用新型范圍內。本實用新型要求保護范圍由所附的權利要求書及其等效物界定。

圖 1

圖 2

圖 3

圖 4



