?

實用專利
一種脫硫劑加料裝置
日期:2020-09-14 15:06瀏覽次數:
說 明 書 摘 要
本實用新型提供一種脫硫劑加料裝置,涉及脫硫劑加料領域,一種脫硫劑加料裝置,包括底座,所述底座的表面固定安裝有箱體,所述箱體的頂部表面固定安裝有防護箱,所述防護箱的頂部兩側均固定安裝有滑桿,兩個所述滑桿的表面均套設有滑塊,兩個所述滑塊之間固定連接有連接板,所述防護箱的內部設置有推動裝置。本實用新型通過使用推動裝置和環形噴頭的配合使用可以方便帶動脫硫劑在箱體的內部進行噴灑,可以使氣體和脫硫劑充分的混合,能夠使后期的使用不造成影響,使用水泵、進液管和U形出液管的配合使用可以代替人工的手動添加,可以使搭達到半自動化的操作,可以一人操作多臺裝置,能夠加快加料設備的操作速度。

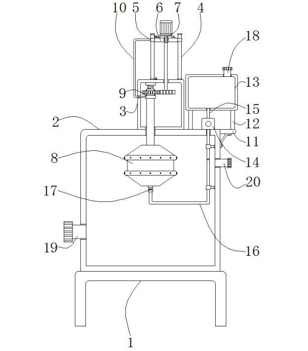
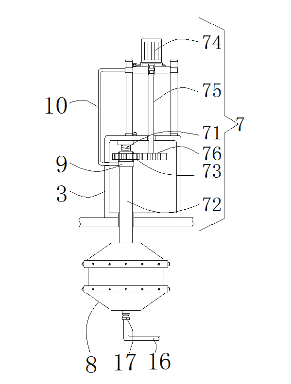
1.一種脫硫劑加料裝置,其特征在于:包括底座(1),所述底座(1)的表面固定安裝有箱體(2),所述箱體(2)的頂部表面固定安裝有防護箱(3),所述防護箱(3)的頂部兩側均固定安裝有滑桿(4),兩個所述滑桿(4)的表面均套設有滑塊(5),兩個所述滑塊(5)之間固定連接有連接板(6),所述防護箱(3)的內部設置有推動裝置(7),所述推動裝置(7)包括螺紋桿(71),所述螺紋桿(71)的表面套設有內螺紋套管(72),所述內螺紋套管(72)的表面套設有第一齒輪(73),所述連接板(6)的表面固定安裝有電機(74),所述電機(74)輸出軸的一端通過連軸器固定連接轉動桿(75),所述轉動桿(75)的一端固定安裝有第二齒輪(76),所述內螺紋套管(72)的底部固定安裝有環形噴管(8)。
2.根據權利要求1所述的脫硫劑加料裝置,其特征在于:所述內螺紋套管(72)的表面套設有軸承(9),所述軸承(9)的一側固定連接有U形連接桿(10),所述箱體(2)表面一側的頂部固定安裝有支撐板(11),所述支撐板(11)的表面安裝支撐桿(12)。
3.根據權利要求2所述的脫硫劑加料裝置,其特征在于:所述支撐桿(12)的頂端固定安裝有儲料箱(13),所述箱體(2)的表面且位于所述防護箱(3)的一側固定安裝有水泵(14),所述水泵(14)輸入端連通有進液管(15),所述水泵(14)輸出端連通有U形出液管(16)。
4.根據權利要求1所述的脫硫劑加料裝置,其特征在于:所述環形噴管(8)的底部固定安裝有旋轉接頭(17),所述旋轉接頭(17)的底部與所述U形出液管(16)的一端連通。
5.根據權利要求3所述的脫硫劑加料裝置,其特征在于:所述儲料箱(13)的頂部連通有注液管(18),所述箱體(2)的一側連通有進氣管(19)。
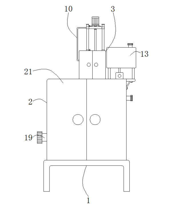
6.根據權利要求1所述的脫硫劑加料裝置,其特征在于:所述箱體(2)的一側連通有出氣管(20),所述箱體(2)與所述防護箱(3)的正面均開設有箱門(21)。
2.根據權利要求1所述的脫硫劑加料裝置,其特征在于:所述內螺紋套管(72)的表面套設有軸承(9),所述軸承(9)的一側固定連接有U形連接桿(10),所述箱體(2)表面一側的頂部固定安裝有支撐板(11),所述支撐板(11)的表面安裝支撐桿(12)。
3.根據權利要求2所述的脫硫劑加料裝置,其特征在于:所述支撐桿(12)的頂端固定安裝有儲料箱(13),所述箱體(2)的表面且位于所述防護箱(3)的一側固定安裝有水泵(14),所述水泵(14)輸入端連通有進液管(15),所述水泵(14)輸出端連通有U形出液管(16)。
4.根據權利要求1所述的脫硫劑加料裝置,其特征在于:所述環形噴管(8)的底部固定安裝有旋轉接頭(17),所述旋轉接頭(17)的底部與所述U形出液管(16)的一端連通。
5.根據權利要求3所述的脫硫劑加料裝置,其特征在于:所述儲料箱(13)的頂部連通有注液管(18),所述箱體(2)的一側連通有進氣管(19)。
6.根據權利要求1所述的脫硫劑加料裝置,其特征在于:所述箱體(2)的一側連通有出氣管(20),所述箱體(2)與所述防護箱(3)的正面均開設有箱門(21)。
一種脫硫劑加料裝置
技術領域
本實用新型涉及脫硫劑加料領域,尤其涉及一種脫硫劑加料裝置。
背景技術
去除煙道廢氣中二氧化硫的脫硫劑,采用最多的是廉價的石灰、石灰石和用石灰質藥劑配制的堿性溶液,脫硫劑能吸收煙氣中大部分的二氧化硫固定在燃料渣內、化工廠、冶煉廠等常采用碳酸鈉、堿性硫酸鋁等溶液作為脫硫劑處理含二氧化硫的尾氣,并可解吸回收利用。
現有的脫硫劑加料裝置在使用液體脫硫劑時,需要不同的時間段進行更換和添加脫硫劑,但是現在的的添加方式一般是手動添加,而且不能準確控制添加量,操作麻煩,并且現有的人工手動添加脫硫劑也會造成混合不充分的情況。
實用新型內容
本實用新型的目的在于提供一種脫硫劑加料裝置,以解決上述技術問題。
本實用新型為解決上述技術問題,采用以下技術方案來實現:一種脫硫劑加料裝置,包括底座,所述底座的表面固定安裝有箱體,所述箱體的頂部表面固定安裝有防護箱,所述防護箱的頂部兩側均固定安裝有滑桿,兩個所述滑桿的表面均套設有滑塊,兩個所述滑塊之間固定連接有連接板,所述防護箱的內部設置有推動裝置,所述推動裝置包括螺紋桿,所述螺紋桿的表面套設有內螺紋套管,所述內螺紋套管的表面套設有第一齒輪,所述連接板的表面固定安裝有電機,所述電機輸出軸的一端通過連軸器固定連接轉動桿,所述轉動桿的一端固定安裝有第二齒輪,所述內螺紋套管的底部固定安裝有環形噴管。
兩個滑桿和兩個滑塊的配合使用可以方便帶動電機進行上下水平移動,。防止電機工作時造成偏移。
進一步地,所述內螺紋套管的表面套設有軸承,所述軸承的一側固定連接有U形連接桿,所述箱體表面一側的頂部固定安裝有支撐板,所述支撐板的表面安裝支撐桿。
軸承和U形連接桿的使用可以以帶動電機進行移動也啟起到固定的作用。
進一步地,所述支撐桿的頂端固定安裝有儲料箱,所述箱體的表面且位于所述防護箱的一側固定安裝有水泵,所述水泵輸入端連通有進液管,所述水泵輸出端連通有U形出液管。
進一步地,所述環形噴管的底部固定安裝有旋轉接頭,所述旋轉接頭的底部與所述U形出液管的一端連通。
進一步地,所述儲料箱的頂部連通有注液管,所述箱體的一側連通有進氣管。
進一步地,所述箱體的一側連通有出氣管,所述箱體與所述防護箱的正面均開設有箱門。
本實用新型的有益效果是:
本實用新型通過使用推動裝置和環形噴頭的配合使用可以方便帶動脫硫劑在箱體的內部進行噴灑,可以使氣體和脫硫劑充分的混合,能夠使后期的使用不造成影響,使用水泵、進液管和U形出液管的配合使用可以代替人工的手動添加,可以使搭達到半自動化的操作,可以一人操作多臺裝置,能夠加快加料設備的操作速度。
附圖說明
圖1為本實用新型的整體的結構示意圖;
圖2為本實用新型的推動裝置的結構示意圖;
圖3為本實用新型的外部的結構示意圖。
附圖標記:1-底座、2-箱體、3-防護箱、4-滑桿、5-滑塊、6-連接板、7-推動裝置、71-螺紋桿、72-內螺紋套管、73-第一齒輪、74-電機、75-轉動桿、76-第二齒輪、8-環形噴管、9-軸承、10-U形連接桿、11-支撐板、12-支撐桿、13-儲料箱、14-水泵、15-進液管、16-U形出液管、17-旋轉接頭、18-注液管、19-進氣管、20-出氣管、21-箱門。
具體實施方式
為了使本實用新型實現的技術手段、創作特征、達成目的與功效易于明白了解,下面結合具體實施例和附圖,進一步闡述本實用新型,但下述實施例僅僅為本實用新型的優選實施例,并非全部。基于實施方式中的實施例,本領域技術人員在沒有做出創造性勞動的前提下所獲得其它實施例,都屬于本發明的保護范圍。
下面結合附圖描述本實用新型的具體實施例。
如圖1-3所示,一種脫硫劑加料裝置,包括底座1,所述底座1的表面固定安裝有箱體2,所述箱體2的頂部表面固定安裝有防護箱3,所述防護箱3的頂部兩側均固定安裝有滑桿4,兩個所述滑桿4的表面均套設有滑塊5,兩個所述滑塊5之間固定連接有連接板6,所述防護箱3的內部設置有推動裝置7,所述推動裝置7包括螺紋桿71,所述螺紋桿71的表面套設有內螺紋套管72,所述內螺紋套管72的表面套設有第一齒輪73,所述連接板6的表面固定安裝有電機74,所述電機74輸出軸的一端通過連軸器固定連接轉動桿75,所述轉動桿75的一端固定安裝有第二齒輪76,所述內螺紋套管72的底部固定安裝有環形噴管8。
第一齒輪73的一側和第二齒輪76的一側嚙合,電機74輸出軸的表面貫穿連接板6的表面且延伸至連接板6的內部,轉動桿75的一端貫穿防護箱3的表面且延伸至防護箱3的內部,內螺紋套管72的一端貫穿防護箱3內壁的底部且延伸至箱體2的內部,在防護箱3頂部左側的滑桿4的表面和防護箱3的頂部表面分別固定安裝以后開關,在兩個滑桿4的頂端均固定安裝有擋板。
所述內螺紋套管72的表面套設有軸承9,所述軸承9的一側固定連接有U形連接桿10,所述箱體2表面一側的頂部固定安裝有支撐板11,所述支撐板11的表面安裝支撐桿12。
U形連接桿10的一端貫穿防護箱3內壁的一側且延伸至防護箱3的外側,并與防護箱3頂部左側的滑桿4表面的滑塊5的一側固定連接,在支撐板11的表面個防護箱3的表面均固定安裝有支撐桿12,儲料箱13固定安裝在兩個支撐桿12之間。
所述支撐桿12的頂端固定安裝有儲料箱13,所述箱體2的表面且位于所述防護箱3的一側固定安裝有水泵14,所述水泵14輸入端連通有進液管15,所述水泵14輸出端連通有U形出液管16。
進液管15和U形出液管16都使用軟管,而且在U形出液管16的表面套設有固定扣,固定扣的一端與箱體2內壁的一側固定連接。
所述環形噴管8的底部固定安裝有旋轉接頭17,所述旋轉接頭17的底部與所述U形出液管16的一端連通。
所述儲料箱13的頂部連通有注液管18,所述箱體2的一側連通有進氣管19。
所述箱體2的一側連通有出氣管20,所述箱體2與所述防護箱3的正面均開設有箱門21。
工作原理:操作者首先將液體的脫硫劑通過注液管18注入儲料箱13的內部,當儲料箱13的內部加滿液脫硫劑后,再啟動電機74帶動轉動桿75進行轉動,當轉動桿75轉動時帶動第二齒輪76在防護箱3的內部進行轉動,當第二齒輪76轉動時帶動第一齒輪73進行轉動,當第一齒輪73轉動時帶動內螺紋套管72在螺紋桿71的表面進行轉動,防護箱3的內部進行轉動,當內螺紋套管72轉動時帶動環形噴管8在箱體2的內部進行升降和轉動,當內螺紋套管72向箱體2的內部移動時通過軸承9帶動U形連接桿10向防護箱3的一側移動,當U形連接桿10的移動時通過滑塊5和連接板6帶動電機74在滑桿4的表面進行移動,當環形噴管8轉動時啟動水泵14將儲料箱13內部的液體脫硫劑通過進液管15將液體脫硫劑送入U形出液管16。
當液體脫硫劑進入U形出液管16的內部后,再通過旋轉接頭17將液體脫硫劑輸送至環形噴管8的內部并通過環形噴管8將液體脫硫劑噴灑至箱體2的內部,當液體脫硫劑噴灑至箱體2的內部后通過進氣管19將氣體送至箱體2的內部,當箱體2內部的氣體與液體脫硫劑混合后通過出氣管20排出即可。
在本實用新型中,除非另有明確的規定和限定,第一特征在第二特征之 “上”或之“下”可以包括第一和第二特征直接接觸,也可以包括第一和第二特征不是直接接觸而是通過它們之間的另外的特征接觸。而且,第一特征在第二特征“之上”、“上方”和“上面”包括第一特征在第二特征正上方和斜上方,或僅僅表示第一特征水平高度高于第二特征。第一特征在第二特征“之下”、“下方”和“下面”包括第一特征在第二特征正下方和斜下方,或僅僅表示第一特征水平高度小于第二特征。
以上顯示和描述了本實用新型的基本原理、主要特征和本實用新型的優點。本行業的技術人員應該了解,本實用新型不受上述實施例的限制,上述實施例和說明書中描述的僅為本實用新型的優選例,并不用來限制本實用新型,在不脫離本實用新型精神和范圍的前提下,本實用新型還會有各種變化和改進,這些變化和改進都落入要求保護的本實用新型范圍內。本實用新型要求保護范圍由所附的權利要求書及其等效物界定。
技術領域
本實用新型涉及脫硫劑加料領域,尤其涉及一種脫硫劑加料裝置。
背景技術
去除煙道廢氣中二氧化硫的脫硫劑,采用最多的是廉價的石灰、石灰石和用石灰質藥劑配制的堿性溶液,脫硫劑能吸收煙氣中大部分的二氧化硫固定在燃料渣內、化工廠、冶煉廠等常采用碳酸鈉、堿性硫酸鋁等溶液作為脫硫劑處理含二氧化硫的尾氣,并可解吸回收利用。
現有的脫硫劑加料裝置在使用液體脫硫劑時,需要不同的時間段進行更換和添加脫硫劑,但是現在的的添加方式一般是手動添加,而且不能準確控制添加量,操作麻煩,并且現有的人工手動添加脫硫劑也會造成混合不充分的情況。
實用新型內容
本實用新型的目的在于提供一種脫硫劑加料裝置,以解決上述技術問題。
本實用新型為解決上述技術問題,采用以下技術方案來實現:一種脫硫劑加料裝置,包括底座,所述底座的表面固定安裝有箱體,所述箱體的頂部表面固定安裝有防護箱,所述防護箱的頂部兩側均固定安裝有滑桿,兩個所述滑桿的表面均套設有滑塊,兩個所述滑塊之間固定連接有連接板,所述防護箱的內部設置有推動裝置,所述推動裝置包括螺紋桿,所述螺紋桿的表面套設有內螺紋套管,所述內螺紋套管的表面套設有第一齒輪,所述連接板的表面固定安裝有電機,所述電機輸出軸的一端通過連軸器固定連接轉動桿,所述轉動桿的一端固定安裝有第二齒輪,所述內螺紋套管的底部固定安裝有環形噴管。
兩個滑桿和兩個滑塊的配合使用可以方便帶動電機進行上下水平移動,。防止電機工作時造成偏移。
進一步地,所述內螺紋套管的表面套設有軸承,所述軸承的一側固定連接有U形連接桿,所述箱體表面一側的頂部固定安裝有支撐板,所述支撐板的表面安裝支撐桿。
軸承和U形連接桿的使用可以以帶動電機進行移動也啟起到固定的作用。
進一步地,所述支撐桿的頂端固定安裝有儲料箱,所述箱體的表面且位于所述防護箱的一側固定安裝有水泵,所述水泵輸入端連通有進液管,所述水泵輸出端連通有U形出液管。
進一步地,所述環形噴管的底部固定安裝有旋轉接頭,所述旋轉接頭的底部與所述U形出液管的一端連通。
進一步地,所述儲料箱的頂部連通有注液管,所述箱體的一側連通有進氣管。
進一步地,所述箱體的一側連通有出氣管,所述箱體與所述防護箱的正面均開設有箱門。
本實用新型的有益效果是:
本實用新型通過使用推動裝置和環形噴頭的配合使用可以方便帶動脫硫劑在箱體的內部進行噴灑,可以使氣體和脫硫劑充分的混合,能夠使后期的使用不造成影響,使用水泵、進液管和U形出液管的配合使用可以代替人工的手動添加,可以使搭達到半自動化的操作,可以一人操作多臺裝置,能夠加快加料設備的操作速度。
附圖說明
圖1為本實用新型的整體的結構示意圖;
圖2為本實用新型的推動裝置的結構示意圖;
圖3為本實用新型的外部的結構示意圖。
附圖標記:1-底座、2-箱體、3-防護箱、4-滑桿、5-滑塊、6-連接板、7-推動裝置、71-螺紋桿、72-內螺紋套管、73-第一齒輪、74-電機、75-轉動桿、76-第二齒輪、8-環形噴管、9-軸承、10-U形連接桿、11-支撐板、12-支撐桿、13-儲料箱、14-水泵、15-進液管、16-U形出液管、17-旋轉接頭、18-注液管、19-進氣管、20-出氣管、21-箱門。
具體實施方式
為了使本實用新型實現的技術手段、創作特征、達成目的與功效易于明白了解,下面結合具體實施例和附圖,進一步闡述本實用新型,但下述實施例僅僅為本實用新型的優選實施例,并非全部。基于實施方式中的實施例,本領域技術人員在沒有做出創造性勞動的前提下所獲得其它實施例,都屬于本發明的保護范圍。
下面結合附圖描述本實用新型的具體實施例。
如圖1-3所示,一種脫硫劑加料裝置,包括底座1,所述底座1的表面固定安裝有箱體2,所述箱體2的頂部表面固定安裝有防護箱3,所述防護箱3的頂部兩側均固定安裝有滑桿4,兩個所述滑桿4的表面均套設有滑塊5,兩個所述滑塊5之間固定連接有連接板6,所述防護箱3的內部設置有推動裝置7,所述推動裝置7包括螺紋桿71,所述螺紋桿71的表面套設有內螺紋套管72,所述內螺紋套管72的表面套設有第一齒輪73,所述連接板6的表面固定安裝有電機74,所述電機74輸出軸的一端通過連軸器固定連接轉動桿75,所述轉動桿75的一端固定安裝有第二齒輪76,所述內螺紋套管72的底部固定安裝有環形噴管8。
第一齒輪73的一側和第二齒輪76的一側嚙合,電機74輸出軸的表面貫穿連接板6的表面且延伸至連接板6的內部,轉動桿75的一端貫穿防護箱3的表面且延伸至防護箱3的內部,內螺紋套管72的一端貫穿防護箱3內壁的底部且延伸至箱體2的內部,在防護箱3頂部左側的滑桿4的表面和防護箱3的頂部表面分別固定安裝以后開關,在兩個滑桿4的頂端均固定安裝有擋板。
所述內螺紋套管72的表面套設有軸承9,所述軸承9的一側固定連接有U形連接桿10,所述箱體2表面一側的頂部固定安裝有支撐板11,所述支撐板11的表面安裝支撐桿12。
U形連接桿10的一端貫穿防護箱3內壁的一側且延伸至防護箱3的外側,并與防護箱3頂部左側的滑桿4表面的滑塊5的一側固定連接,在支撐板11的表面個防護箱3的表面均固定安裝有支撐桿12,儲料箱13固定安裝在兩個支撐桿12之間。
所述支撐桿12的頂端固定安裝有儲料箱13,所述箱體2的表面且位于所述防護箱3的一側固定安裝有水泵14,所述水泵14輸入端連通有進液管15,所述水泵14輸出端連通有U形出液管16。
進液管15和U形出液管16都使用軟管,而且在U形出液管16的表面套設有固定扣,固定扣的一端與箱體2內壁的一側固定連接。
所述環形噴管8的底部固定安裝有旋轉接頭17,所述旋轉接頭17的底部與所述U形出液管16的一端連通。
所述儲料箱13的頂部連通有注液管18,所述箱體2的一側連通有進氣管19。
所述箱體2的一側連通有出氣管20,所述箱體2與所述防護箱3的正面均開設有箱門21。
工作原理:操作者首先將液體的脫硫劑通過注液管18注入儲料箱13的內部,當儲料箱13的內部加滿液脫硫劑后,再啟動電機74帶動轉動桿75進行轉動,當轉動桿75轉動時帶動第二齒輪76在防護箱3的內部進行轉動,當第二齒輪76轉動時帶動第一齒輪73進行轉動,當第一齒輪73轉動時帶動內螺紋套管72在螺紋桿71的表面進行轉動,防護箱3的內部進行轉動,當內螺紋套管72轉動時帶動環形噴管8在箱體2的內部進行升降和轉動,當內螺紋套管72向箱體2的內部移動時通過軸承9帶動U形連接桿10向防護箱3的一側移動,當U形連接桿10的移動時通過滑塊5和連接板6帶動電機74在滑桿4的表面進行移動,當環形噴管8轉動時啟動水泵14將儲料箱13內部的液體脫硫劑通過進液管15將液體脫硫劑送入U形出液管16。
當液體脫硫劑進入U形出液管16的內部后,再通過旋轉接頭17將液體脫硫劑輸送至環形噴管8的內部并通過環形噴管8將液體脫硫劑噴灑至箱體2的內部,當液體脫硫劑噴灑至箱體2的內部后通過進氣管19將氣體送至箱體2的內部,當箱體2內部的氣體與液體脫硫劑混合后通過出氣管20排出即可。
在本實用新型中,除非另有明確的規定和限定,第一特征在第二特征之 “上”或之“下”可以包括第一和第二特征直接接觸,也可以包括第一和第二特征不是直接接觸而是通過它們之間的另外的特征接觸。而且,第一特征在第二特征“之上”、“上方”和“上面”包括第一特征在第二特征正上方和斜上方,或僅僅表示第一特征水平高度高于第二特征。第一特征在第二特征“之下”、“下方”和“下面”包括第一特征在第二特征正下方和斜下方,或僅僅表示第一特征水平高度小于第二特征。
以上顯示和描述了本實用新型的基本原理、主要特征和本實用新型的優點。本行業的技術人員應該了解,本實用新型不受上述實施例的限制,上述實施例和說明書中描述的僅為本實用新型的優選例,并不用來限制本實用新型,在不脫離本實用新型精神和范圍的前提下,本實用新型還會有各種變化和改進,這些變化和改進都落入要求保護的本實用新型范圍內。本實用新型要求保護范圍由所附的權利要求書及其等效物界定。

圖 1

圖 2

圖 3



