?

實用專利
一種高濃度煙氣脫硫除塵設備
日期:2020-09-14 15:09瀏覽次數:
說 明 書 摘 要
本實用新型提供一種高濃度煙氣脫硫除塵設備,包括脫硫箱和U形收集管,所述脫硫箱的上側設置有噴淋組件,所述U形收集管的兩端均通過固定組件固定安裝有連接管頭,兩個連接管道分別連通有輸氣管和進氣管,所述進氣管連通于所述脫硫箱一側的底部,涉及煙氣脫硫領域。本實用新型通過設置噴淋組件,在噴淋時通過電機、齒輪、旋轉連接頭等配合使噴淋管帶動噴頭轉動進行噴淋,從而增大噴淋面積,使上升的氣流可以更加充分的與脫硫劑進行接觸,提高反應的效率與質量,且通過設置U形收集盒配合濾網可以對濾下的固體殼體進行收集,并且通過固定組件進行固定安裝,對U形收集管和濾網的拆卸與安裝均操作簡單方便,便于U形收集管和濾網進行清理。

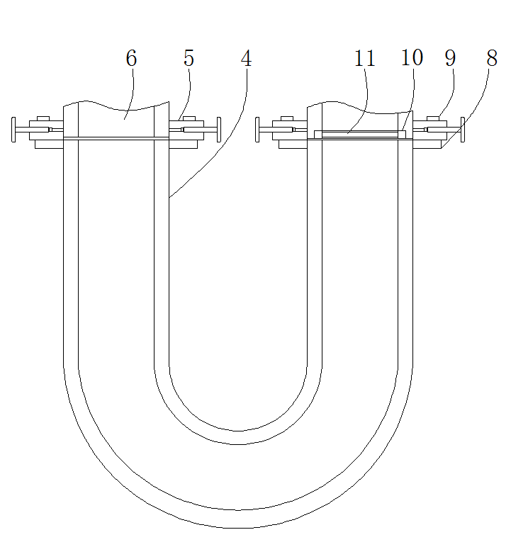
1.一種高濃度煙氣脫硫除塵設備,其特征在于:包括脫硫箱(1)和U形收集管(4),所述脫硫箱(1)的上側設置有噴淋組件(2),所述U形收集管(4)的兩端均通過固定組件(5)固定安裝有連接管頭(6),兩個連接管道分別連通有輸氣管(7)和進氣管(3),所述進氣管(3)連通于所述脫硫箱(1)一側的底部,所述連接管頭(6)的內部且位于U形收集管(4)上側設置有濾網(11),所述連接管頭(6)的的端部開設有限位槽(10),所述濾網(11)的邊側位于限位槽(10)的內部。
2.根據權利要求1所述的高濃度煙氣脫硫除塵設備,其特征在于:所述噴淋組件(2)包括安裝架(21),所述安裝架固定于所述脫硫箱(1)的頂部,所述安裝架(21)的一側轉動連接有連接管(22),所述連接管(22)的底端貫穿脫硫箱(1)且延伸至脫硫箱(1)的內部,所述連接管(22)的底端連通有噴淋管(23),所述噴淋管(23)的底端連通有噴頭(24),所述連接管(22)的頂端通過旋轉連接頭(25)連通有進液管(26)。
3.根據權利要求2所述的高濃度煙氣脫硫除塵設備,其特征在于:所述安裝架(21)頂部固定安裝有電機(29),所述電機(29)輸出軸的一端通過聯軸器固定連接有轉動軸,所述轉動軸的表面套設有主動齒輪(27),所述連接管(22)的表面套設有從動齒輪(28),所述主動齒輪(27)與從動齒輪(28)嚙合。
4.根據權利要求1所述的高濃度煙氣脫硫除塵設備,其特征在于:所述固定組件(5)包括固定塊(51)和兩個滑桿(52),所述固定塊(51)固定于所述U形收集管(4)表面的上側,兩個所述滑桿(52)固定于所述U形收集管(4)的表面且位于該固定塊(51)的兩側,所述固定塊(51)上開設有限位孔(53),所述限位孔(53)的一側開設有凹槽(54)。
5.根據權利要求4所述的高濃度煙氣脫硫除塵設備,其特征在于:所述凹槽(54)的內部設置有活塞塊(55),所述活塞塊(55)的一側固定連接有卡塊(59),所述活塞塊(55)的另一側固定連接有彈性件(56),所述活塞塊(55)的兩側均固定連接有帶動桿(58),所述帶動桿(58)的一端通過滑槽(57)延伸至固定塊(51)的外部,所述帶動桿(58)的一端通過套環與所述滑桿(52)的滑動連接,所述滑桿(52)的表面滑動連接有套管(510),所述套管(510)的端部固定連接有按壓塊(511)。
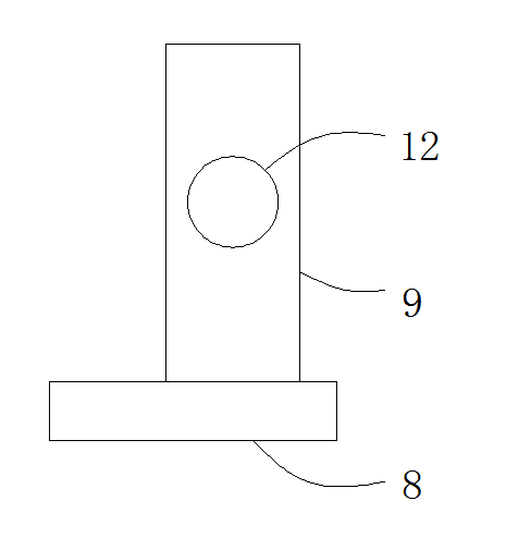
6.根據權利要求1所述的高濃度煙氣脫硫除塵設備,其特征在于:所述U形收集管(4)的兩側均固定連接有支撐塊(8),所述支撐塊(8)的頂部固定連接有限位軸(9),所述限位軸(9)上開設有固定孔(12)。
2.根據權利要求1所述的高濃度煙氣脫硫除塵設備,其特征在于:所述噴淋組件(2)包括安裝架(21),所述安裝架固定于所述脫硫箱(1)的頂部,所述安裝架(21)的一側轉動連接有連接管(22),所述連接管(22)的底端貫穿脫硫箱(1)且延伸至脫硫箱(1)的內部,所述連接管(22)的底端連通有噴淋管(23),所述噴淋管(23)的底端連通有噴頭(24),所述連接管(22)的頂端通過旋轉連接頭(25)連通有進液管(26)。
3.根據權利要求2所述的高濃度煙氣脫硫除塵設備,其特征在于:所述安裝架(21)頂部固定安裝有電機(29),所述電機(29)輸出軸的一端通過聯軸器固定連接有轉動軸,所述轉動軸的表面套設有主動齒輪(27),所述連接管(22)的表面套設有從動齒輪(28),所述主動齒輪(27)與從動齒輪(28)嚙合。
4.根據權利要求1所述的高濃度煙氣脫硫除塵設備,其特征在于:所述固定組件(5)包括固定塊(51)和兩個滑桿(52),所述固定塊(51)固定于所述U形收集管(4)表面的上側,兩個所述滑桿(52)固定于所述U形收集管(4)的表面且位于該固定塊(51)的兩側,所述固定塊(51)上開設有限位孔(53),所述限位孔(53)的一側開設有凹槽(54)。
5.根據權利要求4所述的高濃度煙氣脫硫除塵設備,其特征在于:所述凹槽(54)的內部設置有活塞塊(55),所述活塞塊(55)的一側固定連接有卡塊(59),所述活塞塊(55)的另一側固定連接有彈性件(56),所述活塞塊(55)的兩側均固定連接有帶動桿(58),所述帶動桿(58)的一端通過滑槽(57)延伸至固定塊(51)的外部,所述帶動桿(58)的一端通過套環與所述滑桿(52)的滑動連接,所述滑桿(52)的表面滑動連接有套管(510),所述套管(510)的端部固定連接有按壓塊(511)。
6.根據權利要求1所述的高濃度煙氣脫硫除塵設備,其特征在于:所述U形收集管(4)的兩側均固定連接有支撐塊(8),所述支撐塊(8)的頂部固定連接有限位軸(9),所述限位軸(9)上開設有固定孔(12)。
一種高濃度煙氣脫硫除塵設備
技術領域
本實用新型涉及煙氣脫硫領域,尤其涉及一種高濃度煙氣脫硫除塵設備。
背景技術
煙氣脫硫指從煙道氣或其他工業廢氣中除去硫氧化物(SO2 和SO3),煙氣脫硫包括濕法煙氣脫硫,使煙氣與脫硫液體進行接觸反應。
由于煙氣中含有大量的固體顆粒,在進行脫硫時,需要對煙氣中的固定顆粒進行濾除,目前通過過濾網過濾后,過濾網表面粘附大量的固體顆粒,需要定期清理,目前濾網的安裝拆卸麻煩,清理不方便,且不能對過濾下來的固定顆粒進行集中收集。
實用新型內容
本實用新型的目的在于提供一種高濃度煙氣脫硫除塵設備,以解決上述技術問題。
本實用新型為解決上述技術問題,采用以下技術方案來實現:一種高濃度煙氣脫硫除塵設備,包括脫硫箱和U形收集管,所述脫硫箱的上側設置有噴淋組件,所述U形收集管的兩端均通過固定組件固定安裝有連接管頭,兩個連接管道分別連通有輸氣管和進氣管,所述進氣管連通于所述脫硫箱一側的底部,所述連接管頭的內部且位于U形收集管上側設置有濾網,所述連接管頭的的端部開設有限位槽,所述濾網的邊側位于限位槽的內部。
進一步地,所述噴淋組件包括安裝架,所述安裝架固定于所述脫硫箱的頂部,所述安裝架的一側轉動連接有連接管,所述連接管的底端貫穿脫硫箱且延伸至脫硫箱的內部,所述連接管的底端連通有噴淋管,所述噴淋管的底端連通有噴頭,所述連接管的頂端通過旋轉連接頭連通有進液管。
通過旋轉連接頭連接進液管,當連接管轉動的時候,進液管可以不跟隨轉動。
進一步地,所述安裝架頂部固定安裝有電機,所述電機輸出軸的一端通過聯軸器固定連接有轉動軸,所述轉動軸的表面套設有主動齒輪,所述連接管的表面套設有從動齒輪,所述主動齒輪與從動齒輪嚙合。
進一步地,所述固定組件包括固定塊和兩個滑桿,所述固定塊固定于所述U形收集管表面的上側,兩個所述滑桿固定于所述U形收集管的表面且位于該固定塊的兩側,所述固定塊上開設有限位孔,所述限位孔的一側開設有凹槽。
進一步地,所述凹槽的內部設置有活塞塊,所述活塞塊的一側固定連接有卡塊,所述活塞塊的另一側固定連接有彈性件,所述活塞塊的兩側均固定連接有帶動桿,所述帶動桿的一端通過滑槽延伸至固定塊的外部,所述帶動桿的一端通過套環與所述滑桿的滑動連接,所述滑桿的表面滑動連接有套管,所述套管的端部固定連接有按壓塊。
進一步地,所述U形收集管的兩側均固定連接有支撐塊,所述支撐塊的頂部固定連接有限位軸,所述限位軸上開設有固定孔。
本實用新型的有益效果是:
本實用新型通過設置噴淋組件,在噴淋時通過電機、齒輪、旋轉連接頭等配合使噴淋管帶動噴頭轉動進行噴淋,從而增大噴淋面積,使上升的氣流可以更加充分的與脫硫劑進行接觸,提高反應的效率與質量,且通過設置U形收集盒配合濾網可以對濾下的固體殼體進行收集,并且通過固定組件進行固定安裝,對U形收集管和濾網的拆卸與安裝均操作簡單方便,便于U形收集管和濾網進行清理。
附圖說明
圖1為本實用新型內部的結構示意圖;
圖2為本實用新型U形收集管的剖視圖;
圖3為本實用新型固定組件的剖視圖;
圖4為本實用新型的限位軸的側視圖;
圖5為本實用新型整體的外部結構示意圖。
附圖標記:1-脫硫箱、2-噴淋組件、21-安裝架、22-連接管、23-噴淋管、24-噴頭、25-旋轉連接頭、26-進液管、27-主動齒輪、28-從動齒輪、29-電機、3-進氣管、4-U形收集管、5-固定組件、51-固定塊、52-滑桿、53-限位孔、54-凹槽、55-活塞塊、56-彈性件、57-滑槽、58-帶動桿、59-卡塊、510- 套管、511-按壓塊、6-連接管頭、7-輸氣管、8-支撐塊、9-限位軸、10-限位槽、11-濾網、12-固定孔。
具體實施方式
為了使本實用新型實現的技術手段、創作特征、達成目的與功效易于明白了解,下面結合具體實施例和附圖,進一步闡述本實用新型,但下述實施例僅僅為本實用新型的優選實施例,并非全部。基于實施方式中的實施例,本領域技術人員在沒有做出創造性勞動的前提下所獲得其它實施例,都屬于本發明的保護范圍。
下面結合附圖描述本實用新型的具體實施例。
如圖1-5所示,一種高濃度煙氣脫硫除塵設備,包括脫硫箱1和U形收集管4,所述脫硫箱1的上側設置有噴淋組件2,所述U形收集管4的兩端均通過固定組件5固定安裝有連接管頭6,兩個連接管道分別連通有輸氣管7和進氣管3,所述進氣管3連通于所述脫硫箱1一側的底部,所述連接管頭6的內部且位于U形收集管4上側設置有濾網11,所述連接管頭6的的端部開設有限位槽10,所述濾網11的邊側位于限位槽10的內部。
濾網11包括外部邊框,以及固定在邊框內部的濾芯,邊框位于限位槽10內部,且限位槽10為環形開設,且濾網11設置在靠近脫硫箱1一側的連接管頭6內部,另一側的連接管頭6未設置濾網11,脫硫箱1頂部的一側連通有出氣管頭,脫硫箱1底部連通有出液管,輸液管上設置有閥門。
所述噴淋組件2包括安裝架21,所述安裝架固定于所述脫硫箱1的頂部,所述安裝架21的一側轉動連接有連接管22,所述連接管22的底端貫穿脫硫箱1且延伸至脫硫箱1的內部,所述連接管22的底端連通有噴淋管23,所述噴淋管23的底端連通有噴頭24,所述連接管22的頂端通過旋轉連接頭25連通有進液管26。
連接管22貫穿安裝架21,且在貫穿處的表面套設有軸承,同時連接管的表面且位于安裝架21的頂部和底部均套設有限位環,連接管22與脫硫箱1貫穿處設置機械密封。
所述安裝架21頂部固定安裝有電機29,所述電機29輸出軸的一端通過聯軸器固定連接有轉動軸,所述轉動軸的表面套設有主動齒輪27,所述連接管22的表面套設有從動齒輪28,所述主動齒輪27與從動齒輪28嚙合。
電機29通過電源線與外部電源連接供電。
所述固定組件5包括固定塊51和兩個滑桿52,所述固定塊51固定于所述U形收集管4表面的上側,兩個所述滑桿72固定于所述U形收集管4的表面且位于該固定塊51的兩側,所述固定塊51上開設有限位孔53,所述限位孔53的一側開設有凹槽54。
所述凹槽54的內部設置有活塞塊55,所述活塞塊55的一側固定連接有卡塊59,所述活塞塊55的另一側固定連接有彈性件56,所述活塞塊55的兩側均固定連接有帶動桿58,所述帶動桿58的一端通過滑槽57延伸至固定塊51的外部,所述帶動桿58的一端通過套環與所述滑桿72的滑動連接,所述滑桿52的表面滑動連接有套管510,所述套管510的端部固定連接有按壓塊511。
當彈性件56正常伸展時卡塊59位于限位孔53的內部,且卡塊59的底部設置弧形面,U形收集管4的頂端粘接有密封膠墊
凹槽54的兩側通過滑槽57與外部連通。
所述U形收集管4的兩側均固定連接有支撐塊8,所述支撐塊8的頂部固定連接有限位軸9,所述限位軸9上開設有固定孔12。
限位軸9的直徑與限位孔53的直徑相同,U形收集管4兩側的管的兩側的上側均固定連接有支撐塊8。
工作原理:當煙氣經過輸氣管7通過位于左側的連接管頭6進入到U形收集管4內部,通過U形收集管4右側上方的連接管頭6內部的濾網11將固體顆粒進行過濾,煙氣進過進氣管3進入到脫硫箱1內部;
此時脫硫液通過噴淋管23上的噴頭噴出,且通過電機29帶動主動齒輪27轉動,主動齒輪27帶動從動齒輪28轉動,從而帶動連接管22轉動,連接管22帶動噴淋管23轉動,從而增大噴淋面積,使上升的氣流可以更加充分的與脫硫劑進行接觸,提高反應的效率與質量;
當脫硫結束后,可以通過脫硫箱1頂部的出氣管輸送至下一個步驟進行處理,處理后的溶液通過脫硫箱1底部的出液管排出;
且濾網11過濾下來的顆粒通過重力的作用直接掉落到U形收集管4內部進行收集,當需要對濾網11以及固定顆粒進行清理時,通過同時按壓兩個連接管頭5兩側的按壓塊511,然后向下拉動,即可將U形收集管4取下;
其中按壓按壓塊511時,按壓塊511推動套管510推動套環,套環通過帶動桿58帶動活塞塊55壓縮彈性件,并帶動卡塊59移入凹槽54內部移出限位軸9上的固定孔12;
同時此時可以直接將濾網11取出進行清理或者更換,然后可以將U形收集管4內部收集的固體顆粒倒出;
安裝時,將U形收集管4兩個管頭兩側的限位軸9對應插入到固定塊51上的限位孔53內部,且插入時,限位孔53的邊側擠壓卡塊59的弧形面,使其推動活塞塊55壓縮彈性件56,進入到凹槽54內部,當限位軸9移動至其上的固定孔12與限位軸9位置對應時,通過彈性件56的作用推動卡塊59進入到固定孔12內部對其進行限位,且此時U形收集管4頂端的密封膠墊處于壓縮狀態,安裝簡單。
在本實用新型中,除非另有明確的規定和限定,第一特征在第二特征之 “上”或之“下”可以包括第一和第二特征直接接觸,也可以包括第一和第二特征不是直接接觸而是通過它們之間的另外的特征接觸。而且,第一特征在第二特征“之上”、“上方”和“上面”包括第一特征在第二特征正上方和斜上方,或僅僅表示第一特征水平高度高于第二特征。第一特征在第二特征“之下”、“下方”和“下面”包括第一特征在第二特征正下方和斜下方,或僅僅表示第一特征水平高度小于第二特征。
以上顯示和描述了本實用新型的基本原理、主要特征和本實用新型的優點。本行業的技術人員應該了解,本實用新型不受上述實施例的限制,上述實施例和說明書中描述的僅為本實用新型的優選例,并不用來限制本實用新型,在不脫離本實用新型精神和范圍的前提下,本實用新型還會有各種變化和改進,這些變化和改進都落入要求保護的本實用新型范圍內。本實用新型要求保護范圍由所附的權利要求書及其等效物界定。
技術領域
本實用新型涉及煙氣脫硫領域,尤其涉及一種高濃度煙氣脫硫除塵設備。
背景技術
煙氣脫硫指從煙道氣或其他工業廢氣中除去硫氧化物(SO2 和SO3),煙氣脫硫包括濕法煙氣脫硫,使煙氣與脫硫液體進行接觸反應。
由于煙氣中含有大量的固體顆粒,在進行脫硫時,需要對煙氣中的固定顆粒進行濾除,目前通過過濾網過濾后,過濾網表面粘附大量的固體顆粒,需要定期清理,目前濾網的安裝拆卸麻煩,清理不方便,且不能對過濾下來的固定顆粒進行集中收集。
實用新型內容
本實用新型的目的在于提供一種高濃度煙氣脫硫除塵設備,以解決上述技術問題。
本實用新型為解決上述技術問題,采用以下技術方案來實現:一種高濃度煙氣脫硫除塵設備,包括脫硫箱和U形收集管,所述脫硫箱的上側設置有噴淋組件,所述U形收集管的兩端均通過固定組件固定安裝有連接管頭,兩個連接管道分別連通有輸氣管和進氣管,所述進氣管連通于所述脫硫箱一側的底部,所述連接管頭的內部且位于U形收集管上側設置有濾網,所述連接管頭的的端部開設有限位槽,所述濾網的邊側位于限位槽的內部。
進一步地,所述噴淋組件包括安裝架,所述安裝架固定于所述脫硫箱的頂部,所述安裝架的一側轉動連接有連接管,所述連接管的底端貫穿脫硫箱且延伸至脫硫箱的內部,所述連接管的底端連通有噴淋管,所述噴淋管的底端連通有噴頭,所述連接管的頂端通過旋轉連接頭連通有進液管。
通過旋轉連接頭連接進液管,當連接管轉動的時候,進液管可以不跟隨轉動。
進一步地,所述安裝架頂部固定安裝有電機,所述電機輸出軸的一端通過聯軸器固定連接有轉動軸,所述轉動軸的表面套設有主動齒輪,所述連接管的表面套設有從動齒輪,所述主動齒輪與從動齒輪嚙合。
進一步地,所述固定組件包括固定塊和兩個滑桿,所述固定塊固定于所述U形收集管表面的上側,兩個所述滑桿固定于所述U形收集管的表面且位于該固定塊的兩側,所述固定塊上開設有限位孔,所述限位孔的一側開設有凹槽。
進一步地,所述凹槽的內部設置有活塞塊,所述活塞塊的一側固定連接有卡塊,所述活塞塊的另一側固定連接有彈性件,所述活塞塊的兩側均固定連接有帶動桿,所述帶動桿的一端通過滑槽延伸至固定塊的外部,所述帶動桿的一端通過套環與所述滑桿的滑動連接,所述滑桿的表面滑動連接有套管,所述套管的端部固定連接有按壓塊。
進一步地,所述U形收集管的兩側均固定連接有支撐塊,所述支撐塊的頂部固定連接有限位軸,所述限位軸上開設有固定孔。
本實用新型的有益效果是:
本實用新型通過設置噴淋組件,在噴淋時通過電機、齒輪、旋轉連接頭等配合使噴淋管帶動噴頭轉動進行噴淋,從而增大噴淋面積,使上升的氣流可以更加充分的與脫硫劑進行接觸,提高反應的效率與質量,且通過設置U形收集盒配合濾網可以對濾下的固體殼體進行收集,并且通過固定組件進行固定安裝,對U形收集管和濾網的拆卸與安裝均操作簡單方便,便于U形收集管和濾網進行清理。
附圖說明
圖1為本實用新型內部的結構示意圖;
圖2為本實用新型U形收集管的剖視圖;
圖3為本實用新型固定組件的剖視圖;
圖4為本實用新型的限位軸的側視圖;
圖5為本實用新型整體的外部結構示意圖。
附圖標記:1-脫硫箱、2-噴淋組件、21-安裝架、22-連接管、23-噴淋管、24-噴頭、25-旋轉連接頭、26-進液管、27-主動齒輪、28-從動齒輪、29-電機、3-進氣管、4-U形收集管、5-固定組件、51-固定塊、52-滑桿、53-限位孔、54-凹槽、55-活塞塊、56-彈性件、57-滑槽、58-帶動桿、59-卡塊、510- 套管、511-按壓塊、6-連接管頭、7-輸氣管、8-支撐塊、9-限位軸、10-限位槽、11-濾網、12-固定孔。
具體實施方式
為了使本實用新型實現的技術手段、創作特征、達成目的與功效易于明白了解,下面結合具體實施例和附圖,進一步闡述本實用新型,但下述實施例僅僅為本實用新型的優選實施例,并非全部。基于實施方式中的實施例,本領域技術人員在沒有做出創造性勞動的前提下所獲得其它實施例,都屬于本發明的保護范圍。
下面結合附圖描述本實用新型的具體實施例。
如圖1-5所示,一種高濃度煙氣脫硫除塵設備,包括脫硫箱1和U形收集管4,所述脫硫箱1的上側設置有噴淋組件2,所述U形收集管4的兩端均通過固定組件5固定安裝有連接管頭6,兩個連接管道分別連通有輸氣管7和進氣管3,所述進氣管3連通于所述脫硫箱1一側的底部,所述連接管頭6的內部且位于U形收集管4上側設置有濾網11,所述連接管頭6的的端部開設有限位槽10,所述濾網11的邊側位于限位槽10的內部。
濾網11包括外部邊框,以及固定在邊框內部的濾芯,邊框位于限位槽10內部,且限位槽10為環形開設,且濾網11設置在靠近脫硫箱1一側的連接管頭6內部,另一側的連接管頭6未設置濾網11,脫硫箱1頂部的一側連通有出氣管頭,脫硫箱1底部連通有出液管,輸液管上設置有閥門。
所述噴淋組件2包括安裝架21,所述安裝架固定于所述脫硫箱1的頂部,所述安裝架21的一側轉動連接有連接管22,所述連接管22的底端貫穿脫硫箱1且延伸至脫硫箱1的內部,所述連接管22的底端連通有噴淋管23,所述噴淋管23的底端連通有噴頭24,所述連接管22的頂端通過旋轉連接頭25連通有進液管26。
連接管22貫穿安裝架21,且在貫穿處的表面套設有軸承,同時連接管的表面且位于安裝架21的頂部和底部均套設有限位環,連接管22與脫硫箱1貫穿處設置機械密封。
所述安裝架21頂部固定安裝有電機29,所述電機29輸出軸的一端通過聯軸器固定連接有轉動軸,所述轉動軸的表面套設有主動齒輪27,所述連接管22的表面套設有從動齒輪28,所述主動齒輪27與從動齒輪28嚙合。
電機29通過電源線與外部電源連接供電。
所述固定組件5包括固定塊51和兩個滑桿52,所述固定塊51固定于所述U形收集管4表面的上側,兩個所述滑桿72固定于所述U形收集管4的表面且位于該固定塊51的兩側,所述固定塊51上開設有限位孔53,所述限位孔53的一側開設有凹槽54。
所述凹槽54的內部設置有活塞塊55,所述活塞塊55的一側固定連接有卡塊59,所述活塞塊55的另一側固定連接有彈性件56,所述活塞塊55的兩側均固定連接有帶動桿58,所述帶動桿58的一端通過滑槽57延伸至固定塊51的外部,所述帶動桿58的一端通過套環與所述滑桿72的滑動連接,所述滑桿52的表面滑動連接有套管510,所述套管510的端部固定連接有按壓塊511。
當彈性件56正常伸展時卡塊59位于限位孔53的內部,且卡塊59的底部設置弧形面,U形收集管4的頂端粘接有密封膠墊
凹槽54的兩側通過滑槽57與外部連通。
所述U形收集管4的兩側均固定連接有支撐塊8,所述支撐塊8的頂部固定連接有限位軸9,所述限位軸9上開設有固定孔12。
限位軸9的直徑與限位孔53的直徑相同,U形收集管4兩側的管的兩側的上側均固定連接有支撐塊8。
工作原理:當煙氣經過輸氣管7通過位于左側的連接管頭6進入到U形收集管4內部,通過U形收集管4右側上方的連接管頭6內部的濾網11將固體顆粒進行過濾,煙氣進過進氣管3進入到脫硫箱1內部;
此時脫硫液通過噴淋管23上的噴頭噴出,且通過電機29帶動主動齒輪27轉動,主動齒輪27帶動從動齒輪28轉動,從而帶動連接管22轉動,連接管22帶動噴淋管23轉動,從而增大噴淋面積,使上升的氣流可以更加充分的與脫硫劑進行接觸,提高反應的效率與質量;
當脫硫結束后,可以通過脫硫箱1頂部的出氣管輸送至下一個步驟進行處理,處理后的溶液通過脫硫箱1底部的出液管排出;
且濾網11過濾下來的顆粒通過重力的作用直接掉落到U形收集管4內部進行收集,當需要對濾網11以及固定顆粒進行清理時,通過同時按壓兩個連接管頭5兩側的按壓塊511,然后向下拉動,即可將U形收集管4取下;
其中按壓按壓塊511時,按壓塊511推動套管510推動套環,套環通過帶動桿58帶動活塞塊55壓縮彈性件,并帶動卡塊59移入凹槽54內部移出限位軸9上的固定孔12;
同時此時可以直接將濾網11取出進行清理或者更換,然后可以將U形收集管4內部收集的固體顆粒倒出;
安裝時,將U形收集管4兩個管頭兩側的限位軸9對應插入到固定塊51上的限位孔53內部,且插入時,限位孔53的邊側擠壓卡塊59的弧形面,使其推動活塞塊55壓縮彈性件56,進入到凹槽54內部,當限位軸9移動至其上的固定孔12與限位軸9位置對應時,通過彈性件56的作用推動卡塊59進入到固定孔12內部對其進行限位,且此時U形收集管4頂端的密封膠墊處于壓縮狀態,安裝簡單。
在本實用新型中,除非另有明確的規定和限定,第一特征在第二特征之 “上”或之“下”可以包括第一和第二特征直接接觸,也可以包括第一和第二特征不是直接接觸而是通過它們之間的另外的特征接觸。而且,第一特征在第二特征“之上”、“上方”和“上面”包括第一特征在第二特征正上方和斜上方,或僅僅表示第一特征水平高度高于第二特征。第一特征在第二特征“之下”、“下方”和“下面”包括第一特征在第二特征正下方和斜下方,或僅僅表示第一特征水平高度小于第二特征。
以上顯示和描述了本實用新型的基本原理、主要特征和本實用新型的優點。本行業的技術人員應該了解,本實用新型不受上述實施例的限制,上述實施例和說明書中描述的僅為本實用新型的優選例,并不用來限制本實用新型,在不脫離本實用新型精神和范圍的前提下,本實用新型還會有各種變化和改進,這些變化和改進都落入要求保護的本實用新型范圍內。本實用新型要求保護范圍由所附的權利要求書及其等效物界定。

圖 1

圖 2

圖 3

圖 4

圖 5



